В настоящем разделе предоставлена информация обязательная для исполнения при хранении, эксплуатации и транспортировке сотового поликарбоната изготовленного на заводе ООО "ЭкоГринПласт"
ПРАВИЛА ЭКСПЛУАТАЦИИ СОТОВОГО ПОЛИКАРБОНАТА
(инструкция по монтажу)
1. ТРАНСПОРТИРОВКА, ХРАНЕНИЕ И ЧИСТКА СОТОВОГО ПОЛИКАРБОНАТА
2. ЗАЩИТНЫЕ ПОКРЫТИЯ ЛИСТОВ СОТОВОГО ПОЛИКАРБОНАТА
3. ГЕРМЕТИЗАЦИЯ СОТОВОГО ПОЛИКАРБОНАТА
4. ОРИЕНТАЦИЯ ПАНЕЛИ ПРИ УСТАНОВКЕ
5.ТЕРМИЧЕСКОЕ РАСШИРЕНИЕ
6. МЕХАНИЧЕСКАЯ ОБРАБОТКА И СВЕРЛЕНИЕ
7. СКЛЕИВАНИЕ ПАНЕЛЕЙ
8. ВЫБОР ПАНЕЛЕЙ
9. ПРОЕКТИРОВАНИЕ НЕСУЩИХ КОНСТРУКЦИЙ
10. ОПРЕДЕЛЕНИЕ ШАГА НЕСУЩИХ КОНСТРУКЦИЙ
По диаграммам № 3−5 можно рассчитать максимальное расстояние между стропилами и прогонами для различных толщин панелей.
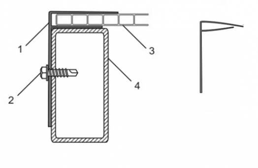
11. ЗАКРЕПЛЕНИЕ ПАНЕЛЕЙ С ИСПОЛЬЗОВАНИЕМ ПРОФИЛЕЙ
CP — угловой поликарбонатный профиль
Предназначены для соединения панелей поликарбоната под прямым углом друг к другу. В готовой конструкции угловые соединения получаются незаметными, благодаря правильному подбору цветовых оттенков. Монтаж довольно прост, так как не требует дополнительных креплений, торцы поликарбонатных панелей просто заводятся в специальные пазы с небольшим зазором (рис. 25). Конструкция углового поликарбонатного профиля позволяет надежно удерживать панели, установленные под прямым углом друг к другу. Рассматриваемый профиль применяется преимущественно для крепления и эстетического оформления наружной рекламы, стендов и выставочных сооружений.
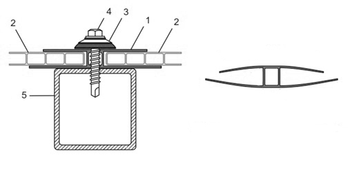
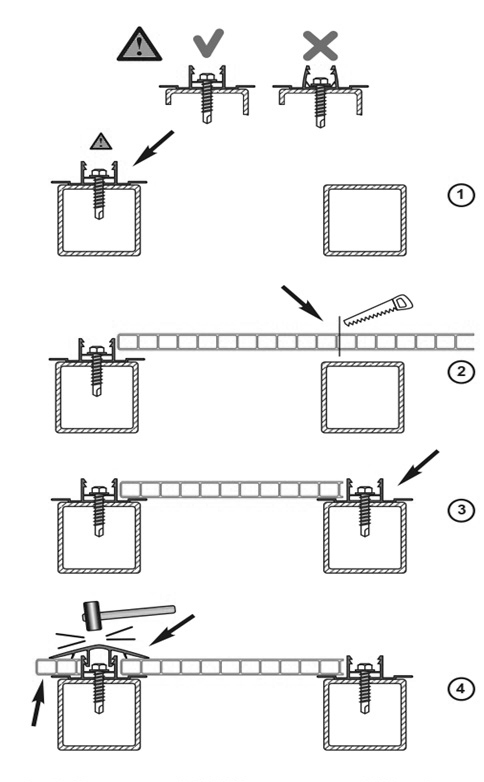
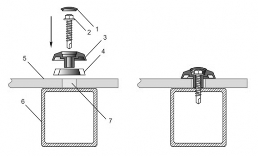
12. ЗАКРЕПЛЕНИЕ ПАНЕЛЕЙ С ИСПОЛЬЗОВАНИЕМ ШАЙБ И САМОРЕЗОВ

































